产品 案例 关于

资讯详情
佛山五金冲压件加工厂,复合成形使用数控冲压渐进技术

复合成型是佛山五金冲压件加工厂的工艺技术之一,目前采用数控冲压渐进实现工艺升级,很多刚接触这一技术的冲压厂工程师可能不太了解,本文将为您仔细分析。

目前,尽管一些学者已经从成形精度和加工成本、可成形极限和可成形性以及可成形材料等方面研究和分析了数控渐进成形和冲压的优缺点,但是没有将数控渐进成形和冲压结合在一起。复合成型的研究。本文提出的基于冲压和数控渐进成形相结合的复合成形方法是:对于要成形的给定板材,首先使用冲压工艺形成与成形板材形状相似的规则成形区域为了提高成形效率,然后使用数控渐进成形工艺在要成形的板材上形成复杂形状的区域。其中,复杂形状区域包括不能通过冲压工艺形成的形状结构和难以加工的形状结构或通过冲压工艺形成所需的模具的加工成本。

佛山五金冲压件加工厂,模型

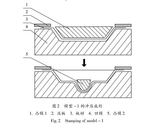
1. 对于图1所示的钣金零件,如果使用图2所示的冲压工艺进行成形,则锥形零件所需的变形超过了一次性进行的锥形零件深冲所允许的极限变形(即由于该锥形部的拉伸倍率大于一次拉伸成型的极限拉伸倍率,因此必须进行多次通过拉伸成型,这时需要制造多个模具,因此需要制造多个模具。问题是形状像冲头2(图2)的弯曲模具难以制造且成本高。

佛山五金冲压件加工厂,冲压成形技术

2. 相反,锥形部分的形成也可以通过如图3所示的数控渐进成形过程进行处理。但是,如果锥形部分的体积较大,则形成过程将花费大量时间,并且仅适用于对于小批量的情况。

佛山五金冲压件加工厂,数控渐进成形

3. 为解决上述问题,综合考虑冲压和数控渐进成形的特点,提出了一种将冲压和数控渐进成形相结合的复合成形方法:从金属板材数控渐进成形的划分策略出发减少加工时间和加工成本,将板的成形区域分为冲压成形区域和数控渐进成形区域。如图1所示,冲压工艺用于成形零件的大圆桌区域,而底部的小圆桌区域则采用数控渐进成形工艺,以避免如图4所示。复杂的模具形状会产生许多消耗品,并且成本很高。

佛山五金冲压件加工厂,复合成形

4. 此外,钣金的形状如图5所示。由于侧壁具有较小的圆台特征,而模具沿Z轴移动无法接近该圆形特征,并且较小的圆台特征具有较大的成型角,此类钣金仅使用冲压工艺无法完成其形成。如果采用数控渐进成形,可以使用五轴或三轴和五轴复合渐进成形,但是需要更长的加工时间。但是,如果采用将冲压和数控渐进成形相结合的复合成形工艺,则可以很好地完成成形,也就是说,对金属板的四面特征采用冲压成形工艺,并在其上形成小的圆形平台。与冲压工艺相比,数控成型工艺具有更高的成型极限和更好的柔性,如图6所示。

佛山五金冲压件加工厂,模型2

5. 如果将冲压成形工艺与数控渐进成形工艺最佳地结合起来,则可以利用其优势克服其缺点,合理地进行分段成形,不仅可以节省成形成本,提高成形效率,而且可以组成更多形状、结构复杂的工件。

各种精密五金冲压件订做,生产供应业务,欢迎联系瑞丰智柜!

返回列表
上一篇
下一篇