产品 案例 关于

资讯详情
钣金加工剖视图怎样理解,剖视工程图怎么看

钣金加工件生产之前,有一个工程图绘制工序,剖视图又是其中一部分。钣金加工剖视图用于表达工件的构造,内部构件的形状用虚线表示,也就是说剖切面切零件,把观察者和剖切面部分移去,其余部分投影所得面即为剖视图。

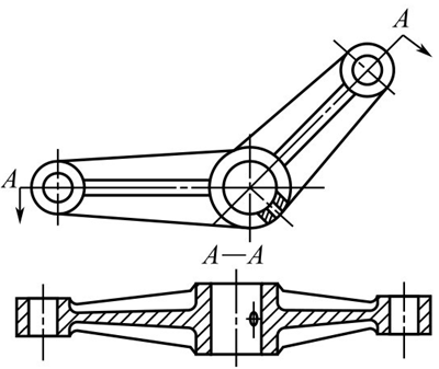
图1-25钣金加工件全剖视图

(1)全剖视图

如图1-25所示,将带有剖面的零件完全切开而获得的剖面图称为完整剖面图。完整截面图主要用于外观简单且内部形状复杂的不对称零件。对于内部和外部形状复杂的不对称零件,可以在相同的投影方向上使用视图和完整横截面视图分别表示其外观和内部结构。

图1-26钣金加工件半剖视图

(2)半剖视图

当机器具有对称平面时,垂直于对称平面的投影表面上投影的图形可以以对称中心线为界,该对称中心线的一半作为横截面图绘制,而另一半则作为横截面图绘制作为顶视图,如图1-26所示。

图1-27钣金加工件接近对称机件的半剖视图

当机器的结构接近对称,并且在其他视图中清楚地表示了不对称部分时,也可以将其绘制为半剖视图,如图1-27所示。绘制半剖视图时,请注意:当在半剖视图中清楚地表示了机器的内部结构时,不应在视图的另一半中画出表示机器对称结构的虚线。对于那些在半剖视图中没有清楚表示的结构,该结构可以在视图的另一半部分剖开,如图1-28所示。

图1-28钣金加工件未表达清楚结构时半剖视图的画法

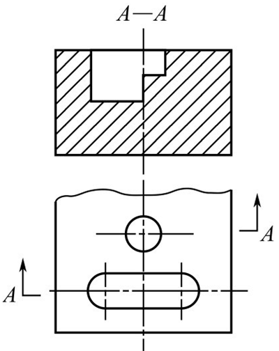
(3)局部剖视图

如图1-29所示,将靴子部分用剖面截取的截面图称为局部截面图。

图1-29钣金加工件局部剖视图

部分截面图是通过将轮廓图和截面图组合而形成的图。轮廓部分和横截面部分由波浪线界定。波浪线不应与其他工程图线重叠,也不能超出切割零件的轮廓线。当切割结构为旋转体时,将结构的中心线作为形状部分和切去部分之间的分界线,如图1-30所示。

图1-30钣金加工件局部剖视图的画法

该局部剖视图具有同时表示机器的内部和外部结构的优点,并且不受机器是否对称的条件的限制。切割的位置和范围的大小应根据实际需要确定,因此被广泛使用并且经常在以下情况下使用。

图1-31钣金加工件-对称机件

①机件对称,但轮廓线和对称线重合。此时应采用局部剖视图,如图1-31所示。

图1-32钣金加工件-杆件

②某些规定不允许剖切的实心杆件,如轴、手柄等,需要表达某处的内部结构时应采用局部剖视图,如图1-32所示。

图1-33钣金加工件-不对称机件

③需要保留部分外形的不对称机件,如图1-33所示。

(4)旋转剖

图1-34钣金加工件-旋转剖视图

用两相交的剖切平面(交线垂直于某一基本投影面)剖开零件的方法称为旋转剖,如图1-34所示。

(5)阶梯剖

图1-35钣金加工件阶梯剖视图

切割具有多个平行切割面的零件的方法称为“分段剖切”,如图1-35所示。使用此方法绘制横截面图时,图中不应有不完整的元素。当两个元素在图形上具有相同的对称中心线或轴时,可以绘制每个元素的一半。在这种情况下,应将对称的中心线或轴视为世界。

(6)复合剖

图1-36钣金加工件复合剖视图

除旋转剖、阶梯剖以外,用组合的剖切平面剖开零件的方法称为复合剖,如图1-36所示。

诚瑞丰公司拥有完善的钣金加工件定制开发经验,大型生产基地,700+生产人员,质量好,价格实惠,欢迎联系合作。

返回列表
上一篇
下一篇