 
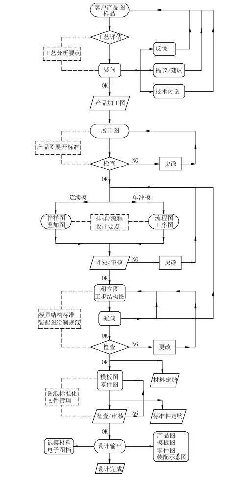
 精密冲压模具是通过精密的冲压技术对模胚进行加工,按照设计图纸上的标准冲压加工出合格的冲压模,很多人对于精密冲压模不陌生,但是对于他加工设计的图纸却了解的人群少之又少。一般在进行冲压模具之前首先是会先做模具设计的图纸以及流程,流程如下图所示:
     
    
    一 设计产品图
产品图纸或产品(样品)的开封由客户和文控中心提供。由于产品图纸来自不同的客户,规格不同,图纸不清晰,标识不完善,尺寸或检测基准混乱,或人为疏忽造成的误差。因此,在原图的基础上,在忠实于原图设计的前提下,绘制自己的产品图供自己使用。对于客户图纸中出现的工艺问题,及时与客户工程师沟通,难以满足工艺或结构要求,可通过减少工艺要求、改变产品结构或增加工艺辅助手段与对方工程师协商解决。客户的原始图纸不得更改和保留。客户提供的样品可以通过各种方式进行精确测量和绘制,制作产品图纸。客户样品应妥善保存。产品图纸要求数据准确,要求清晰,尺寸标注完善,公差合理,检测方便。
二 料带图
根据顾客需求,产品的精密度、产品的生产数量、模具的使用寿命、工艺特点等,确定采用连续或单道工艺模具。
根据产品要求的精度、模具产量、模具生产速度等来确定模具的分类精度。分类标准如下图所示:
         
    
        
    
毛坯在带材上的排样方法称为排样。每个工件都有各种布局方案。
排列方式有直线排、单排、多排、斜排、对头直排、对头斜排等。
布局工作很简单,但非常重要。嵌套原则有以下点:
1 易于操作,安全,降低工人劳动强度为单一工艺模具,在冲压时应少转动物料,如物料利用率相同或相近,应尽量选用。
2 提高材料利用率占冲压件总成本的60%以上,是一项重要的经济指标。冲裁过程中产生的废料有两种:结构废料和工艺废料。在布局上尽量减少工艺浪费,提高材料利用率。
3 排料时应保证冲裁件的质量。这一点将在下一节中详细解释。
4 模具结构简单,使用寿命高。
5 精密模具在进行布局图之前,请进行冲压和叠加。该图的目的是确保所有废物被洗掉并获得完整的产品。首先,要确定产品的毛边,产品的晶粒方向要求,步长,带宽,产品参考面,合理的边缘和进给方向。有必要考虑冲头的顺序,弯曲的顺序,定位孔和圈的位置。
以上就是精密冲压模具的基本流程以及图纸了,在设计加工模具前应该严格按照流程来对模具进行冲压加工,这样才尽可能的保证生产出一套合格的冲压模具。