产品 案例 关于

资讯详情
罗湖冲压加工厂,冲压卷圆模具设计技巧2-[诚瑞丰]

上一篇文章我们就提到了3种大型圆筒件的设计方法,罗湖冲压加工厂将在本文对小型圆筒件的卷圆模具设计技巧作补充。诚瑞丰公司拥有10万平米的生产面积,生产员工700+,开模下料工艺成熟,研发设计团队经验丰富,24年的生产项目沉淀,如今对冲压卷圆模具的设计工艺已经炉火纯青,作以下分析。

罗湖冲压加工厂

罗湖冲压加工厂将小圆筒件的弯曲方法分为两种:

1.   使用两副结构简单的弯曲模,首先将工件弯曲成U形,再将U形弯曲成圆筒形,具体样式可参考下图:

罗湖冲压加工厂-两次弯曲图

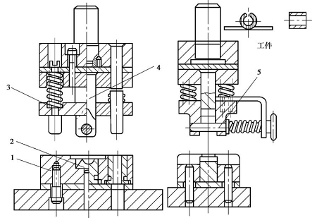
2.   将第一种方法的工序合并,一次成形,如图所示:

罗湖冲压加工厂-工序合并

坯料首先被固定在凹模固定板的定位槽内,当上模往下加工时,凸模轴心5余凹模2会将材料弯曲成U形,当上模继续往下运作时,凸模将代工压料板3对弹簧施加压力,由凹模4将圆筒状做出来。工序完毕后,上模将回程,工件留在凸模处,将轴心拔出,冲压件即可自动落下。其原理是必须先有U形再有圆筒形。

罗湖冲压加工厂的卷圆模具设计工艺都是从实践中得来,以上工艺分享希望对你有帮助。

诚瑞丰公司,24年专注生产冲压件, 20000+套冲压模具生产经验,月产100+  套模具,上百台精密加工设备,日 500万冲次产能,冲压精度可达  0.01mm,18道质检层层严格把关,欢迎联系合作!

返回列表
上一篇
下一篇