产品 案例 关于

资讯详情
钣金加工件的局部视图和斜视图

钣金加工件的的局部视图由某一面投影而得,并不是完整的基本视图,可作为尚未表达清楚视图的补充;当工件向不平行于任何基本面投影而得的视图时,可得到斜视图。

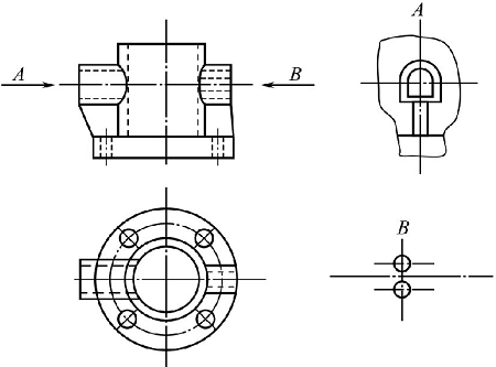
图1-23钣金加工件局部视图

1-23所示为钣金件的加工图样,在主、俯视图外又增加了两个局部视图,这样可以省去两个基本视图,简化表达方法,减少制图工作量。

从图1-23中可看出局部视图的表达方法。

①在相应的视图上用带字母的箭头指明所表示的部位和投影方向,并在局部视图的上方用相同的字母表明如“A”向。

②局部视图一般画在有关视图附近,并直接保持投影对称关系,如“A”向局部视图,也可画在图样内的其他地方,如“B”向局部视图。

③局部视图的范围用波浪线表示,当表示的结构是完整而外轮廓线又封闭时,波浪线可省略,如“B”向视图。

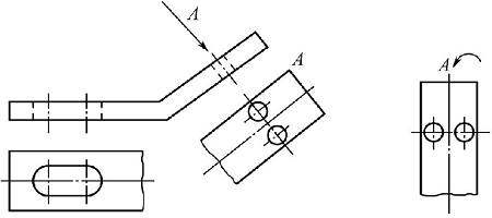
图1-24钣金加工件斜视图

如图1-24所示,为钣金件的加工图样,可以看出其倾斜部分在俯视图和左视图上都不能得到实形投影,这时需另增加一个平行于该倾斜部分的投影面,在投影面上画出的倾斜部分的实形投影图,即斜视图。

斜视图的画法和标注法与局部视图相同,有时也可将图形摆正来表示,见图中的A”(标注在图形上方)。

诚瑞丰公司拥有完善的工艺体系,可大批量定制各种结构的钣金加工件,大型厂家生产基地,高新技术企业,欢迎联系合作。

返回列表
上一篇
下一篇